Use cases
详述用例
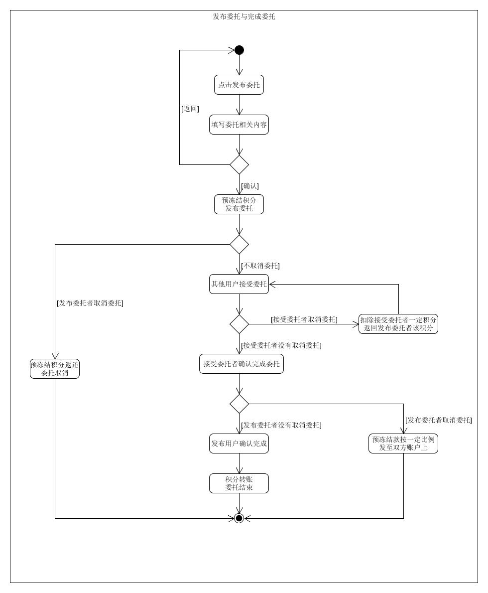
Use case1 发布委托与完成委托
范围:挣闲钱应用
级别:用户级别
主要参与者:发布委托的用户、接受委托的用户
涉众及关注点:
- 发布委托的用户:希望能够便捷、清晰表达自己的委托诉求。希望能够按照自己的意愿,定制化委托的截止时间等。希望能够在中途对已经发布的委托进行取消。希望能够在确定委托被完成之后才进行积分的扣除和转账。
- 接受委托的用户:希望能够便捷、清晰看到当前可以接受的所有委托。希望能够查看委托的详情内容。希望能够准确无误接受可完成的委托。希望能够接受委托之后可以选择放弃已接受的委托。
- 运营平台:希望进行及时、准确的积分转账。希望能够得到用户的相关授权。
前置条件:顾客必须进行微信授权。顾客必须已经注册登录账号。
成功保证(后置条件):正确存储委托信息。正确存储委托与不同用户之间的关系。正确进行委托积分的计算和转账。
主成功场景(或基本流程):
- 发布委托的用户通过点击发布委托进行发布界面
- 发布委托的用户通过设置委托的类型、委托的地点、委托的描述、委托的截止时间、委托的报酬来完善委托的内容
- 发布委托的用户确认委托无误后可发布委托,委托积分进行预冻结
- 接受委托者可以在委托列表查看可接受委托
- 接受委托者可以查看该委托的具体详情
- 接受委托者可以接受委托
- 接受委托者完成委托后,可点击确认完成
- 发布委托者在确认委托完成后点击确认完成,结束该笔委托的交易
- 冻结积分解冻并转账至接受委托者的账户上
扩展(或替代流程):
-
2a. 发布委托的用户在发布过程中意外或非意外退出发布界面
i. 系统不对之前填写一半的记录进行保存
ii. 用户重新进入发布委托系统后,所有的委托内容需要重新输入
-
3a. 发布委托的用户确认委托时积分不足
i. 提示用户账户积分不足,发布委托失败
-
6a. 接受委托的用户积分不足
i. 提示用户账户积分不足,无法接受委托
-
6b. 被接受的委托已经截止
i. 提示用户该委托已经过了截止时间,接受委托失败
-
7a. 截止时间未完成委托
i. 该订单自动取消
ii. 接受委托者扣除一定量的积分作为惩罚
iii. 委托预冻结的积分返回发布委托的用户,并给予接受委托者扣除的费用作为补偿
-
8a. 发布委托者未确认订单
i. 在截止时间之后自动完成该订单并进行积分转账
-
*a. 发布委托者在委托被接受前取消订单
i. 委托取消
ii. 委托预冻结的积分返回发布委托者的账户
-
*b. 发布委托者在委托被接受后取消订单
i. 委托取消
ii. 返回部分委托预冻结积分到发布委托者账户上
iii. 返回部分委托预冻结积分到接受委托者账户上作为补偿
-
*c. 接受委托者取消订单
i. 接受委托者与委托的关系取消
ii. 接受委托者扣除一定的积分
iii. 发布委托者获得接受委托者账户扣除的积分作为补偿
特殊需求:
- 无
发生频率:不间断随时发生
未解决问题:
- 订单未完成时,对于交易双方的责任追究
- 发布委托者可在已经发布但是未被接受的委托上进行修改
活动图

非正式用例
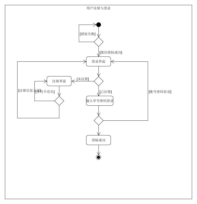
Use case 2.1 用户注册登录
主成功场景:用户经过微信授权后进入小程序,输入学号以及密码进行注册,注册完后输入学号和密码进行登录操作。
交替场景:
- 顾客如果之前已经注册过账号的,可以直接登录
- 顾客注册账号时,发现学号已被注册,可以联系后台管理员进行认证或自行找回密码
活动图

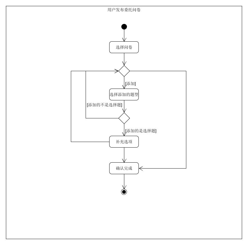
Use case 2.2 用户发布委托问卷
主成功场景:用户选择发布问卷的委托类型,进入题目设置的窗口。通过添加不同的题型(选择题、判断题、问答题)来完成委托问卷的内容,确认无误后即可进行发布。
交替场景:
- 当添加题目为选择题时,需要完成ABCD四个选项的内容。
活动图:

简述用例
Use case 3 查看委托广场
- Actor:用户
- Desscription:顾客进入小程序,可以切换到委托广场,浏览当前已经发布的委托。对于感兴趣的委托可以点击查看详情。